一、简介:
CDZ型充氮车是用来对液压-囊式蓄能器、活塞式蓄能器、液压隔膜式蓄能器及其他高压容器进行主充装并增加氮气压力的专用设备。
通常氮气瓶直接对蓄能器充氮时,其最高充氮压力为13.5MPa。若蓄能器内所需预充的氮气压力超过13.5MPa,则使用本充氮车就可以实现。最高压力可达42MPa。
二、型号说明:
三、工作原理:
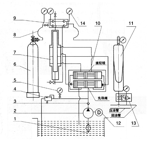
本型号充氮车由液压系统、气路、电路三部分组成。液压系统的先导换向阀控制双向增压器不断往复运动,一气腔从氮气瓶吸入氮气,另一气腔将已吸入的氮气通过阀装置压入蓄能器或高压容器。当蓄能器内氮气压力达到预调值时,电接点压力表发信号使液压系统停止工作。
四、技术规格和结构图:
|
型号 |
氮气输入压力 |
最高输出压力 |
油泵 |
增压器 |
重量 |
||
|
压力(MPa) |
流量(L/min) |
增压比 |
增压次数(次/min) |
||||
|
CDZ-25Y1 |
3.0-13.5 |
25 |
7 |
9 |
1:4 |
8 |
338 |
|
NXJ-B1 |
35 |
1:6 |
6 |
||||
|
NXJ-B1 |
42 |
8 |
14-16 |
1:7 |
7.5 |
||
【声明】:
以上文章或资料除注明为沪山阀门制造(上海)有限公司自创或编辑整理外,均为各方收集或网友推荐所得。其中摘录的内容以共享、研究为目的,不存在任何商业考虑。
目前网站上有些文章未注明作者或出处,甚至标注错误,此类情况出现并非不尊重作者及出处网站,而是因为有些资料来源的不规范。如果有了解作者或出处的原作者或网友,请告知,本网站将立即更正注明,并向作者道歉。
被摘录的对象如有任何异议,请与本站联系,联系邮箱hushanfamen@126.com,本站确认后将立即撤下。谢谢您的支持与理解!


